当前位置:首页攻略资讯索尼新专利公布!携手AMD升级PS5 Pro画质表现

索尼新专利公布!携手AMD升级PS5 Pro画质表现

2026-02-25 17:57:10更新

自2024年11月PS5 Pro正式发售起,索尼便一直专注于为这款旗舰主机优化游戏的画质表现与分辨率参数。虽然PSSR技术在部分游戏里展现出了良好效果,但仍有部分作品存在视觉层面的缺陷与图像相关问题,对游戏性能及画面稳定性造成了影响。

为此,在系统架构师马克·塞尔尼的主导下,索尼与AMD展开了紧密合作,打算把FSR4的关键技术要素整合到PS5 Pro的PSSR里。最近向WIPO提交的一份名为“图形处理”的专利,首次披露了PSSR 2.0的技术走向,据估计,这一更新会在接下来的几个月内随着开发套件一起发布。

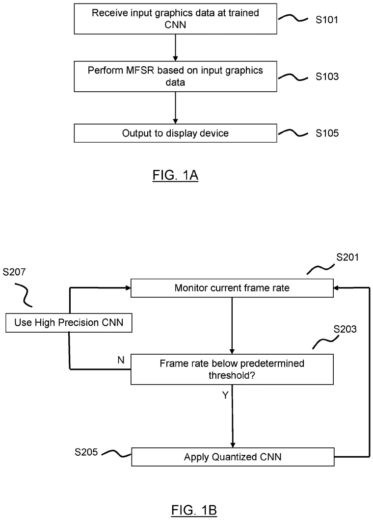
专利中描述了一种全新方法,旨在避免PS5 Pro游戏出现帧率下降与原生分辨率降低的问题。简而言之,开发人员未来或许无需为了使用PSSR而降低游戏的基础分辨率。

该专利的核心概念是实时量化。当游戏遭遇大数据负载时,帧率可能短暂下降数秒。PSSR 2.0的解决方案并非降低原生分辨率,而是临时减少卷积神经网络的使用,以稳定性能。

CNN即卷积神经网络,是PSSR用于图像重建与分辨率提升的机器学习系统。当帧率下降时,PSSR 2.0将减少CNN的调用,在不降低游戏原生分辨率的前提下,将性能拉回正常水平。

根据专利描述,实时量化在图形处理器负载过高时主动降低神经网络的使用强度,有助于平抑帧率波动,尤其在快节奏游戏中效果显著。

目前这依旧是一项技术概念,它在实际游戏里的表现还需要进一步验证。要是能实现预期的效果,索尼就有希望解决玩家在PS5 Pro PSSR上发现的主要问题之一。